Средняя часть суппорта 1К62Д - Продам в Челябинске
Россия, Челябинская обл., Челябинск, проспект Ленина, д. 2, оф. 102Б
Детальное описание
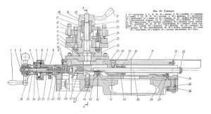
ООО "СтанкоПромСервис" поставляет суппорта в сборе и каретки для токарных станков. Всегда в наличии и под заказ как узлы в сборе, так и отдельно запчасти к суппорту и каретке:
· винт суппорта с гайкой (винтовая пара суппорта с гайкой);
· винт поперечной подачи суппорта с гайками (винт каретки) установлен в каретке станка;
· резцедержатель в сборе;
· верхняя часть суппорта (резцовые салазки);
· средняя часть суппорта (поворотная плита);
· нижняя часть суппорта;
· суппорт крестовой в сборе:
· каретка в сборе
· гидросуппорт ГСП-41
· клинья к станкам ремонтные
Четкие сроки изготовления, гарантия на всю изготавливаемую продукцию. Отправим в любой город России, Казахстана, Белоруссии! Доставка до терминала ТК Бесплатно!
Создано 06.08.2018 Изменено 21.04.2026
