Установка дробления резины удр чертежи - Продам в Москве
Производитель
Россия Цена договорная
В наличии
Москва (Россия)
Состояние: Новый
Контакты
747060407
Детальное описание
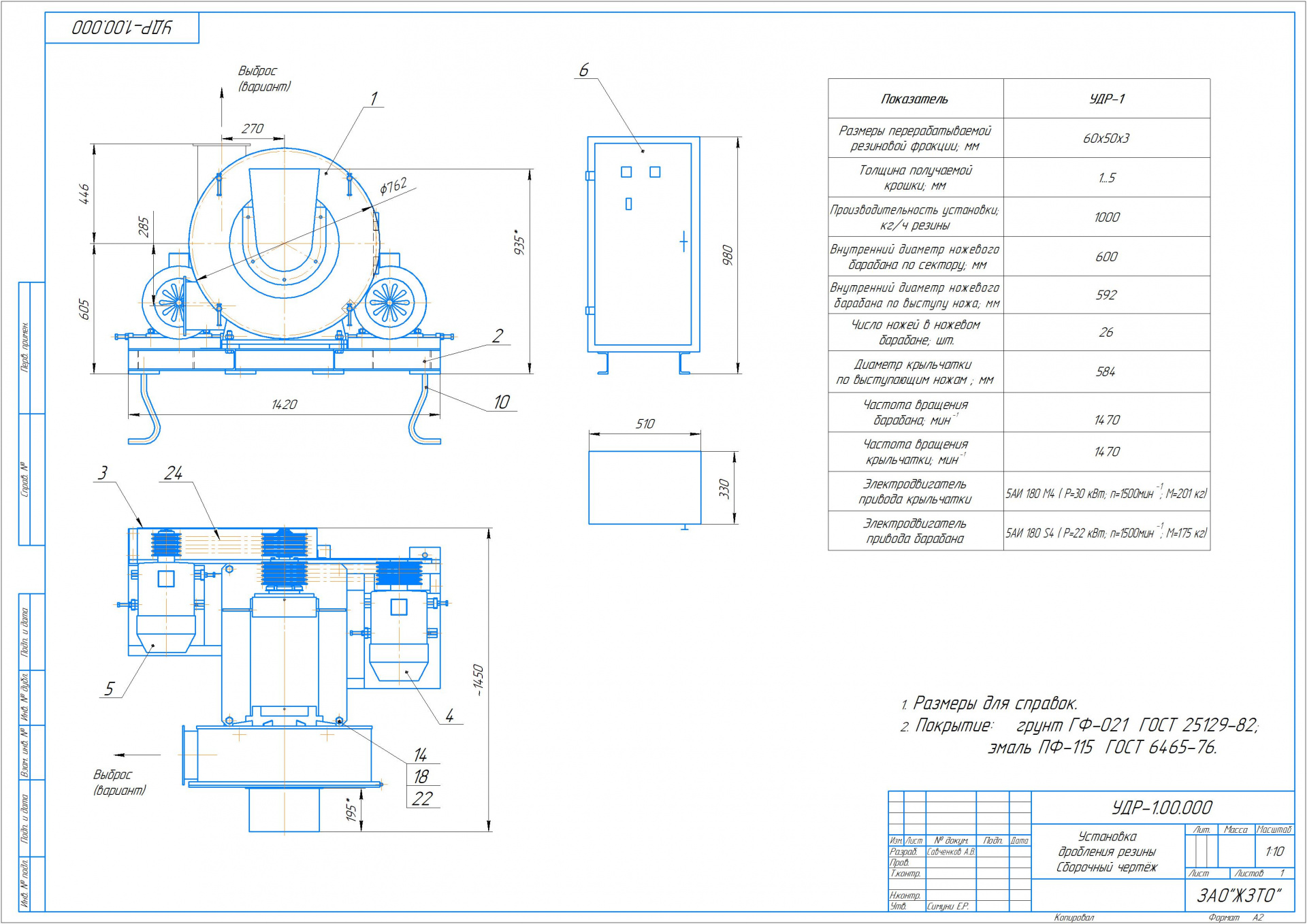
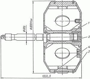
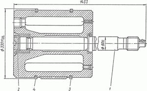
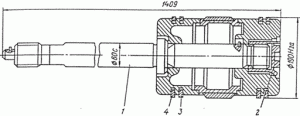
Продаём полный комплект конструкторской документации для производства установки дробления резиновых чипсов в крошку. Производительность до 1 тонны в час. Документация осталась от собственного производства.
Создано 31.05.2022 Изменено 02.09.2023
Похожие объявления
Установка дробления АД-110 с щековой дробилкой 100 м3/ч
Состояние: Новый Производитель: Югстройдеталь (Россия)
Лабинск (Россия)
17 000 000
Установка древесно-стружечная удс (Чертежи)
Состояние: Новый Производитель: ЗАО "Жуковский завод технологического оборудования" (Россия)
В наличии
Жуковка (Россия)
10 000
Установка древесно-стружечная удс чертежи
Состояние: Новый Производитель: Россия
В наличии
Москва (Россия)
Линия переработки шин 500 кг/ч чертежи
Состояние: Новый Производитель: Россия
В наличии
Москва (Россия)
Линия переработки шин 300 кг/ч чертежи
Состояние: Новый Производитель: Россия
В наличии
Москва (Россия)
