Обратный клапан низкого давления на компрессор 4М10-40/708 - Продам в Запорожье
Цена договорная
В наличии
Запорожье (Украина)
Состояние: Новый
Контакты
ЧП «Современные технологии LTD»
Украина, Запорожская обл., Запорожье, пр-т Сталеваров
Детальное описание
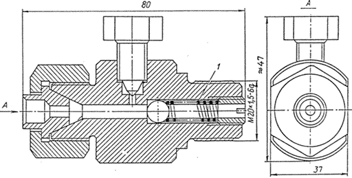
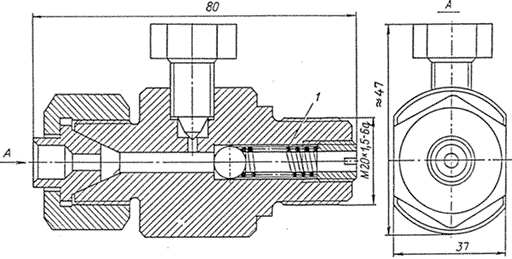
Обратный клапан низкого давления на компрессор 4М10-40/708
Чертеж обратного клапана низкого давления
| Пояснения к чертежу:
|
Запасные части обратного клапана низкого давления компрессора 4М10-40/70
| Обозначение | Наименование | Количество на одну сборочную единицу | Материал | Масса, кг |
| 1 | 2 | 3 | 4 | 5 |
| 146-10-2 | Пружина | 1 | Проволока П-0,5, ГОСТ 9389-75 | 0,001 |
Запасные части обратного клапана низкого давления компрессора 4М10-40/70являются взаимозаменяемыми во всех модификациях компрессоров.
Создано 04.12.2017 Изменено 20.04.2026
