Реле НМШ2–4000 - Продам в Днепропетровске
Детальное описание
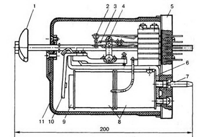
Реле электромагнитные нейтральные НМШ2–4000 предназначены для выполнения электрических зависимостей, которые исключают появление недопустимых для безопасности движения поездов состояний устройств сигнализации, централизации и блокирования (СЦБ) железнодорожного транспорта и метрополитена. Складское хранение, цена договорная.
Создано 12.10.2020 Изменено 24.09.2023
Похожие объявления
НМШ2-4000, НМIIП-М, ДЕ-96, МГР-96, 12ЛН1, ТМи-4-М1, ОП-120ф3, КИВ
Состояние: Новый
В наличии
Сумы (Украина)
Катушки для реле и контакторов, катушки для пускателей, гибкие связи для контакторов
Состояние: Новый
В наличии
Чебоксары (Россия)
100
Катушка для контактора, реле, пускателя
Состояние: Новый Производитель: Россия
В наличии
Москва (Россия)
Гидравлический листогибочный 6-осевой пресс KRRASS PBS 250/4000 6 axis
Состояние: Новый
Казань (Россия)
