Ротаметр РС-3 - Продам в Сумах
Детальное описание
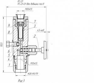
Ротаметр типу РС-3 призначений для вимірювання стабільних або плавномінних потоків некристалізуючих рідин і газів, нейтральних щодо скла, поплавців, арматури та ущільнювального набивання.
Создано 26.10.2022 Изменено 09.05.2024
Похожие объявления
Резиносмеситель РС-250 гост 11996-71
Состояние: Б/У Год выпуска: 1989
Волжский (Волгоградская обл.) (Россия)
2 500 000
