Поршень ∅330 со штоком на компрессор 4М10-40/70 - Продам в Запорожье
Цена договорная
В наличии
Запорожье (Украина)
Состояние: Новый
Контакты
ЧП «Современные технологии LTD»
Украина, Запорожская обл., Запорожье, пр-т Сталеваров
Детальное описание
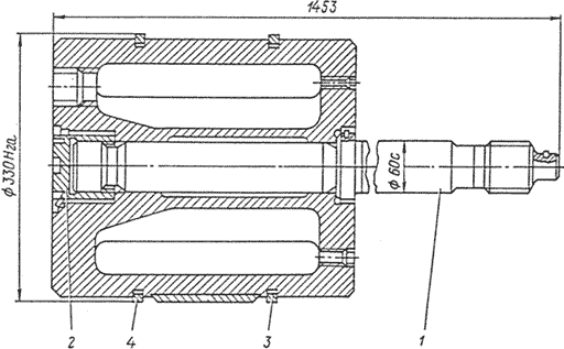
Поршень ∅330 со штоком на компрессор 4М10-40/70
Чертеж поршня ∅330 со штоком
| Пояснения к чертежу:
|
Запасные части поршня ∅330 со штоком компрессора 4М10-40/70 (поршень II-й ступени)
| Обозначение | Наименование | Количество на одну сборочную единицу | Материал | Масса, кг |
| 1 | 2 | 3 | 4 | 5 |
| 89-1-3-2 | Шток | 1 | Сталь 3Х13, ГОСТ 20072-74 | 30,2 |
| 71-1-1-3А | Поршневая гайка | 1 | Сталь 40, ГОСТ 1050-70 | 1,9 |
| Н202-1-19 | Кольцо поршневое ПУ330 | 1 | СЧ21-40, ГОСТ 1412-70 | 0,55 |
| Н202-1-19 | Кольцо поршневое ЛУ330 | 1 | СЧ21-40, ГОСТ 1412-70 | 0,55 |
Все запасные части поршня ∅330 со штоком на компрессор 4М10-40/70 являются взаимозаменяемыми во всех модификациях компрессоров.
Создано 01.12.2017 Изменено 20.04.2026
